Note: this document was converted to HTML to improve page load times. The original document is available in digital format at https://escholarship.mcgill.ca/​concern/papers/d791sm867?locale=en.

Photos and diagrams are a available at the end of this page (scroll down).

The Dowker Residences:
A Study of the Homes in their Historic Context



Jan Kubanek
9009650

presented to Julia Gersovitz
December 10, 1992.

McGill School of Architecture


Colonel George Dowker, born in Salton Yorks in Yorkshire in 1825, arrived in Montreal in 1847. He married Susan Wright Leslie, the daughter of a Montreal doctor; together they settled at Throstle Lodge in Ste Anne de Bellevue in 1861. Here they raised seven children - George Lamb, Arthur Hamilton, Leslie Rose, Harry Bainbridge, Spencer Wilcox, Gertrude Vivian and Vivian de Vere.

This new generation of Dowkers proved to be very influential in the development of Baie d'Urfé and Ste Anne de Bellevue in the beginning of the 20th century. Still today traces of this era lie prominently along the water's edge of suburban Baie d'Urfé and Ste Anne de Bellevue, witness to the great and many changes that have occurred since their beginnings.

A Brief History of the West End of the Island of Montreal prior to 1861
Territory upriver from the early settlement at Montreal was for a long time used simply for hunting and for the fur trade. The 'Bout de l'ile' saw much traffic on Lake St. Louis going up and down the Ottawa River to the Huron settlements. But the land itself was not opened up for settlement until approximately 1670 since the threat of Iroquois attack was not a welcoming thought for settlers. However by 1685, the Parish of St. Louis-du-bout-de-l'ile was established with approximately 20 farming families in the vicinity of the parish which extended from present-day Senneville to Pointe Claire (see diagrams A and B). The Abbé d'Urfé, after whom Baie d'Urfé is named, was the curé of the parish.

The growth of the farming community was slow yet constant: long and narrow land strips were divided up along the water's edge giving all properties water frontage since the lake was the primary means of transportation and since all relied on it for survival. By the early 18th century, the whole of the waterfront had been claimed by family farms, with a common road connecting them along the water.

The 19th century in the West Island brought a new business and outlook onto the land: the British Governor saw great possibilities of exploitation in the vast natural resources of the virgin land. The timber trade, among other trades including the fur trade, caused a surge in water-way traffic. No longer were the communities simple farms, they now responded to the new business opportunities, thus forming community villages like Ste Anne de Bellevue; these villages became outposts with hotels, post offices and transaction points for the businesses.

By the mid 19th century, possible modes of transportation included the waterway, the road along the shore and by 1855 the railway.

When Colonel George Dowker (photo 1) and his wife Susan Wright Leslie settled in the 'Bout de l'ile' in 1861, the basic infrastructure was already laid out. The water was still very important, as can be seen by the subdivision of the land. Shipments from Montreal often stopped off in the village; the railway was in full operation with frequent service to Montreal. It was already possible to commute daily to Montreal.

The residents of the area were either merchants in Ste Anne-du-bout-de-l'ile, farming families living along the lake, Montreal businesspeople who commuted via the railway, or summer vacationers.

The building materials of the houses were good indicators of its inhabitants. A brick farmhouse was fairly common, while a stone farmhouse suggested the success of a particular family. Some permanent homes as well as most summer vacation homes were usually built of wood: galleries along the water's edge were common as was fine carpentry. In all cases the lake was of utmost importance: it symbolized the link between the houses and the element upon which everyone depended - the lake - for transportation, for supplies, for communication.

Throstle Lodge
Throstle Lodge, of 1861, was the first Dowker residence in the area. Built of wood, it was two stories high with a gabled roof and flat-topped dormers facing the lake (photo 2). A fine glass-enclosed veranda looked onto a gently-sloped lawn with large trees, behind which lay the lake.

The siting and arrangement of a house can indicate the building's use and the attitude of those living within: in this case the complex served as a home for a large family who seemed to enjoy the country setting. Photo 3 shows a view of Throstle Lodge from the river: an ordered water's edge defined by a stone wall, the manicured lawn, the tent-like structure on the dock and the gentle steps up to the house reinforce this idea of the home as a haven, a resort, as opposed to the typology of the farmhouse. Photo 4 records the building in the winter season: this photograph is thought to have been taken before photo 2 because the glass veranda is thought to be a later addition.

After the death of the Colonel in 1910, Arthur Hamilton (photo 5), now the oldest son after the premature death of George Lamb (1849-1881), inherited Throstle Lodge. He lived there and commuted to Montreal daily where he worked as a manufacturer's agent. The building has undergone an incredible amount of changes since 1861, where the original building is virtually unrecognisable in its present form. Extensive renovations were carried out in the 1950s and again in the 1960s. Photos 6, 7 and 8 show the building today. Small similarities are visible in the roof structure on the western wing and the lake elevation but a whole new wing seems to have been added to the east. The renovations in the 1960s saw the addition of this wing and the application of ocre-colored stone and a ceramic tile roof. Today the building houses the Faculty Club for Macdonald College of McGill University and is called "Tadja Hall", after the late David Stewart's favorite cat, Tadja.

The Next Generation of Dowkers
As the children of Col. George and Susan Wright reached the age of maturity, there was a wave of new houses built along the strip of land in the direct vicinity of Throstle Lodge (diagram C).

A few of the children were businessmen in Montreal: Leslie Rose (1854-1945) was involved in the leather business. During World War I he was quite successful due to the great demand on tanneries from the armies in Europe who constantly needed new supplies. Arthur Hamilton (1852-1927) was a manufacturer's agent.

Other children were local politicians: Vivian de Vere (1864-1923) was a clothing manufacturer who became Baie d'Urfé's first mayor after the town's incorporation in 1911.

Due to the varied lifestyles of this Dowker generation, the houses they built were different in attitude and function, visible through the building's location and siting, its materials, its style, its size.

Beauséjour
Beauséjour (photo 9) is a wooden Gothic cottage of approximately 1890 (the exact date, architect and builder are not known). It served as the home to Leslie Rose for a few years before he moved to his mysterious home on Dowker Island (to follow). Later Beauséjour was thought to have been the home of Vivian de Vere's daughter.

Photo 8 shows Beauséjour in a very Romantic setting- the name itself implying a "pleasant stay". A finely-carved tall wooden fence lays claim to the property line directly on the old Public Road. Tall trees seem to surround the building in a cozy manner. The house is quite visibly a Gothic cottage, with fine gingerbread wood detailing along the roof eaves. The peak of the main gable is further emphasized by a projecting eave with vine-like detailing, supported on simple brackets (photo 10). Today the building remains in very good condition (photo 11). The fence along the road has been removed but almost all else seems to be authentic. The siding is suffering slightly (photo 12) but the gingerbread carvings are in good condition. The blue-grey color of the clapboard is probably not true to the original.

The Gothic expression of this cottage indicates a certain whimsy on the part of the architect or carpenter: the Gothic revival in wood cottages was popular in the mid 19th century with James Wyatt's call to the emotions- to the picturesque and Romantic idioms. Commercial, religious as well as domestic architecture picked up on this. Beauséjour, although slightly late stylistically, seems to have been a reference to the Romantic and Picturesque ideals (again see photo 9). It may have been colored differently originally according to the rules laid out by Peabody and Stern- moss green, ocre and blood red to differentiate the distinct storeys and elements of the composition.

The close relationship to the water is still evident in this building of approximately 1890. This indicates, similarly to Throstle Lodge, that the function of the building would have been different than say a farmhouse. Although the building is called a "Gothic cottage", it was not a cottage per se: from its beginning, the house was inhabited 12 months per year.

Thomson House
Thomson House, located to the east of Throstle Lodge and Beauséjour (diagram C), was built by the Dowker family before the turn of the 20th century. It sits on the water's edge adjacent to the old Public Road -now Lakeshore Road- at the base of Rue du Cimetière Ste Anne (photo 13). Although different in appearance from Beauséjour, the two buildings have a very similar response to materials, to their immediate surroundings, and to siting in their relationship to the water and the main road. Thomson House, so named after its present owner, was built as a summer home, and was winterized later. Once again, little is known about its architect or builder.

The house is surrounded by a wide gallery with fine carpentry, a typology which supports the fact that the original building was a summer residence. It is topped by a full Mansard roof with shallow dormers over the gallery space. The Mansard roof became common building practice in Montreal by the 1870s; Thomson House may be a response to this rise in popularity of the new roof framing system. The dormers are virtually the same as the dormers on the countless Montreal rowhouses. This might suggest that the architect was based in Montreal and took on this commission.

The roof today is covered with asphalt shingles. Originally either cedar shingles or tin-plated iron plates were probably used (slate being too heavy for this type of construction)

The house walls around the gallery are stuccoed. It may have been applied during the process of winterization.

The carpentry, although different in inspiration from that of Beauséjour, is equally fine and detailed. Here it is Classical in expression: emphasis is put on the column, the capital and the cornice (photo 14).

Idlewyld
Leslie Rose, the third son of Col. George Dowker and Susan Wright Leslie, was quite a character (photo 15). Around 1900, Leslie had "Idlewyld" build on an island in the middle of Lake St. Louis directly off Baie d'Urfé which became known "Dowker Island" (see diagram B for the location of Dowker Island and diagram D for an aerial photograph of the site).

Leslie bought the island in 1887. Previous owners were Mr. Lynch, Ethier and Joseph Perrier. The story behind Idlewyld (photo 16) is very intriguing due to its mysterious presence today as a ruin visible from the shores of Baie d'Urfé and Beaconsfield (photo 17).

The building, unlike all other Dowker residences studied thus far, is made of load-bearing masonry walls. Porous flat-pitted stone (volcanic-looking) from the island as well as a more dense stone imported from lle Perrot (photo 18) were used in the building's walls. Leslie wished to preserve the island as much as possible; this led to his decision to quarry some of the stone on nearby lle Perrot. With the help of a 'hired hand', the stones were floated across the channel to his island. There, the stones were placed on a platform approximately ten feet square which was then dragged by an oxen to the building site. Once again the architect is not known, neither is much known about the construction process.

The completed building was two stories high, incorporating a third floor in the attic space. It had a gabled roof probably covered with cedar shingles. There were two chimneys: one on the south wall and the other in the center of the space. An enclosed gallery wraps around the north and east walls facing Baie d'Urfé and Montreal respectively (diagram E). The gallery seems to be articulated by wood columns supporting a gently-sloped overhang; a rough dentil course can be seen in photo 16 just below the eaves.

The house resembles a rough Neoclassical building in terms of its composition, volume, roof, and detailing.

Inside, the house had a kitchen, living and dining room spaces. A grand stair made of fine wood rose from the main floor to the upper levels. Upstairs, there were five bedrooms.

Leslie Rose lived at Idlewyld all year around. Despite the building's size, he did live alone: he never married. In the summer he powered across the lake in a motorboat. In the winter he crossed on the ice. (For security, he pulled a sled behind him in case the ice failed.) During those times in the early spring and late fall when the ice was either melting or freezing, Leslie lived elsewhere.

Idlewyld had many modern conveniences which one might not expect of a building of this nature. Two coal-burning cast iron furnaces heated the house. Hot and cold water ran through pipes . The house had full bathrooms including baths. A pumphouse east of the building brought water from underground.

An article appeared in the Gazette on October 4, 1947, announcing an art exhibition at L'Art Francais, 370 Laurier avenue west of the work of Claire Fauteux. A painting titled "Vieilles Ecuries, Dowker Island" was featured in the article along with another piece of her work (photo 19). These stables, built of stone, were located to the west of the main building (refer to diagram D).

To make the crossing to his home as easy and as quick as possible, Leslie Rose purchased a narrow strip of land in Baie d'Urfé from which he could cross the lake to Idlewyld. At this location he built a harbour to protect his boat from the wind and waves. He also built a shed in which he could store some supplies, and in which he could sleep if the crossing to the island was not possible till the next morning. This access point is located next to the modern-day address of 20094 Lakeshore Road. On that site today stands a shed covered in aluminium or tin-siding (photo 20). This structure is most probably the shed that Leslie built. Its materials and detailing are like nothing that would be built today (photo 21 and 22). A harbour shelters the shoreline in front of the shed which is approximately 20 feet off shore (photo 23). Photo 24 shows the distance which Leslie had to cross to get to the island.

The Pinsoneault area map of 1907 shows one portion of Baie d'Urfé larger than all others. This diagram, labelled Plate 51 in his map collection, corresponds exactly to the location of Leslie's harbour: the point can be seen in this plan (diagram F). It is not clear why Pinsoneault would have included this particular area larger than others since houses did exist all along the public way by 1907 - as can be seen in diagram G. The absence of Dowker Island on the plate is even more curious. This may be due to the fact that the island is under the jurisdiction of Ile Perrot. (The larger-scale map (diagram F) corresponds to lots 324 to 328, which can be seen on diagram G at a smaller scale.)

Leslie lived at ldlewyld until his death in 1945 at 91 which is remarkable since he did live alone and had to face the crossing whenever he wished to go to town.

After his death, a caretaker lived at ldlewyld for a few years. But it soon became abandoned. After a few incidents of vandalism, the windows had to be sealed with brick (photo 25). Idlewyld met its fate in February and March of 1977 when a series of incidents occurred and the building burnt to the ground. An article in the Gazette in November 1977 announced:

Reward to whoever will supply information leading to the arrest and conviction of the person or persons responsible for the fires of February 8 and March 8, 1977 at Dowker's Island.

The copper name-plate, mounted over the north veranda steps, showing Leslie Rose Dowker's initials, was removed prior to the fire (photo 26). The masonry walls still remain, slightly damaged (photo 27). Today the island is owned by Gérard Tardiff, a notary in Pointe Claire village.

The Community by 1907
By 1907 Ste Anne de Bellevue was very well established. The village center was all subdivided and quite dense. Only the waterfront along Lakeshore Road in Baie d'Urfé was dotted with houses (diagram G): subdivisions up the St. Denis property toward the train tracks were planned.

Cedar Croft
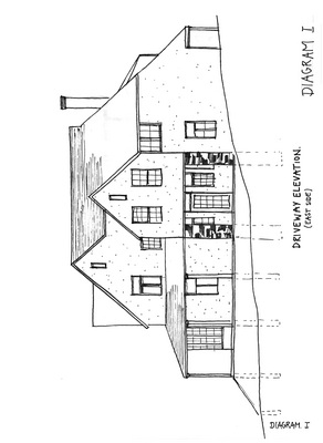
Vivian de Vere, the youngest of this Dowker generation, was a clothing manufacturer who commuted to and from Montreal daily (photo 28). In 1904, he had "Cedar Croft" built. In 1911, he became the first mayor of Baie d'Urfé after incorporation at which point Edward Maxwell was called in to make major modifications to Cedar Croft. Diagrams H, I and J show sketches from the drawings by Maxwell.

Like all the Dowker residences, the water played a very important part in determining the house siting, orientation and attitude. In this case, the house is further away from the water (photo 29). At this point in the early 20th century, the water was no longer a vital element to survival. Water was brought in through pipes from springs in St. Lazare by 1912 therefore wells were no longer important. Railway transportation was at its peak and the roads were getting better every year. Therefore the lake was reduced to an element upon which to look and an element for recreation. Cedar Croft demonstrates this well: a large picture window in the living room space overlooks the lake across the lush lawn (photo 30). A gallery surrounds the house on its east, south and west elevations (photo 31).

The Maxwell alterations of 1911 seem to have adorned the exterior walls of the house with stucco (the walls in the Maxwell drawings were dotted). Tudor siding has since been applied. The Dowker family owned Cedar Croft until 1929.

Cotton woods
Arthur Hamilton, the oldest son of the Colonel and Susan Wright, presented his son George Newton and his bride Gwen Bagnall with "Cottonwoods" as a wedding present (photo 32). It was named Cottonwoods after the trees that grew along the water's edge. It was designed in 1914 by Fred Ritchie, a Montreal architect who was the commander of the 24th Battalion.

Similar to all Dowker residences studied thus far, Cottonwoods seems to face the lake in a comfortable way. The brick base of the building extends into a veranda on the lake side; low wooden fences and bushes surround the property (photo 33 and 34). Graceful trees shaded and protected the house from strong winds and the strong summer sun. The building sits very close to the road, which may have been necessary due to the low-lying site (photo 35). The house seems to be reminiscent in its form and materials to the building typology of the ancient régime - referring to the bellcast roof, dormers, stucco and prominent chimney (photo 36). Fred Dowker, son of George Newton and Gwen Bagnall, grew up at Cottonwoods until the age of 8; he recalls such interior elements as a slate kitchen floor and wide window sills in the dining room. Today the lake elevation of the house is still adorned with fine Classical carpentry around the door (photo 37). A Modern addition has been added to the front of the house (photo 38).

Conclusion
Each Dowker residence was studied in the context of time and location in terms of its siting, materials, form and stylistic expression. From this type of study, attitudes of the time and patterns can be extrapolated.

The architecture of the Dowker Family houses has been an informer into the functionings of that family. All of the houses have a strong relationship with Lake St. Louis, but not in the same way as a farmhouse might look at the lake. The lake was a Picturesque element which was meant to be enjoyed through recreation or just its sheer contribution as a visual element.

The components of the house also serve as informers into the attitudes of the users. A gallery or veranda has been shown to be typical of a cottage.

There was also a trend towards common building materials. Although the houses may have been expressed differently, the materials are often similar, as well as the craftsmanship and the construction methods. Recall Beauséjour and Thomson House's similarities in carpentry.

It was also discovered how the whole building process is logical. In the case of Idlewyld, the building was completely conditioned by the island. The stone used in the walls was determined by what was easily accessible and transportable.

The six Dowker residences studied provided a storyline mapping the progression of a small community through time. By considering the different houses in their context, distinct patterns emerged.



Works and People Cited


book BDU, Baie d'Urfé 1686-1986. Town of Baie d'Urfé
Baie d'Urfé: 1986.

Bland, Professer John, personal communication, November 13, 1992.

Dowker, Mr. Fred, personal communication, October and November 1992.

Gazette. The. October 4, 1947.

Gazette. The. November 1977.

Geography Department, McGill University. Aerial photographs, 1971.



Acknowledgements
I would like to thank the following people who helped make this research project possible:

Mr. Fred Dowker
Professer John Bland
Mr. Snasdell-Taylor

A special thank you goes out to Paul Stejskal and Katherina Houde for willingly risking their lives in a (failed) attempt to get me to Idlewyld.



Note of Interest
Further study of the history of Dowker Island would be fascinating. The succession of owners starting from the beginning of French settlement to the present owner Gérard Tardiff could be researched. The remains of Idlewyld are also fascinating.

Below are listed several sources which could be explored, many of which were suggested by Professer John Bland:
-The Baie d'Urfe News and Views (the town's magazine) archives
-Le Seminaire de Montreal
-The Quebec Archives
-The National Map Collection (the Baie d'Urfe book, p. 34, shows early maps of the area)
-The Atlas of the Island of Montreal
-information on Leslie Rose Dowker may be available through the Lovell Directories (he worked in the leather business presumably on St. Paul Street)
-The Gazette card files
-Edgar Allan Collard - a columnist for the Gazette
-Gerard Tardiff himself may have old deeds
- "History of Macdonald Collage", by Snell
-the artist Claire Fauteux as referred to in the paper


Diagrams and photos

You can click on the images below to see them in full size.

p01.jpg
Diagram A, Diagram B
p02.jpg
Diagram C
p03.jpg
Diagram D
p04.jpg
Diagram E and F
p05.jpg
Diagram G
p06.jpg
Diagram H
p07.jpg
Diagram I
p08.jpg
Diagram J
p09.jpg
Photo 1, Photo 2
p10.jpg
Photo 3, Photo 4
p11.jpg
Photo 5, Photo 6
p12.jpg
Photo 7
p13.jpg
Photo 8
p14.jpg
Photo 9, Photo 10
p15.jpg
Photo 11, Photo 12
p16.jpg
Photo 13, Photo 14
p17.jpg
Photo 15, Photo 16
p18.jpg
Photo 17, Photo 18
p19.jpg
Photo 19, Photo 20
p20.jpg
Photo 21, Photo 22
p21.jpg
Photo 23, Photo 24
p22.jpg
Photo 25, Photo 26
p23.jpg
Photo 27
p24.jpg
Photo 28, Photo 29
p25.jpg
Photo 30, Photo 31
p26.jpg
Photo 32, Photo 33, Photo 34
p27.jpg
Photo 35, Photo 36
p28.jpg
Photo 37, Photo 38




->back to "The Dowkers" (Note: you can also use the back-button in your web browser to get to the exact place were you came from)